Slime エイリアンじゃない。植物じゃない。菌類じゃない。これらは粘菌、粘液菌で、原生生物という生物学のグレーゾーンに住んでいる。彼らは光合成なんかせず、細菌や有機物を狩るために、意図的に這い回る。迷路を解き、食べ物への最短ルートを見つけ、過去の経験に基づいて適応する。脳なんてない(知ってる一部の政治家みたいだ)。神経系もない。それでも、最適化問題をほとんどのグループプロジェクトよりよっぽど上手くこなす。私たちみたいに「考える」わけじゃない。でも、それでも物事を解き明かすんだ。それはちょっと不気味で、でもなんだか感心する。


LLMはスーパーインデックス必要不可欠だが、

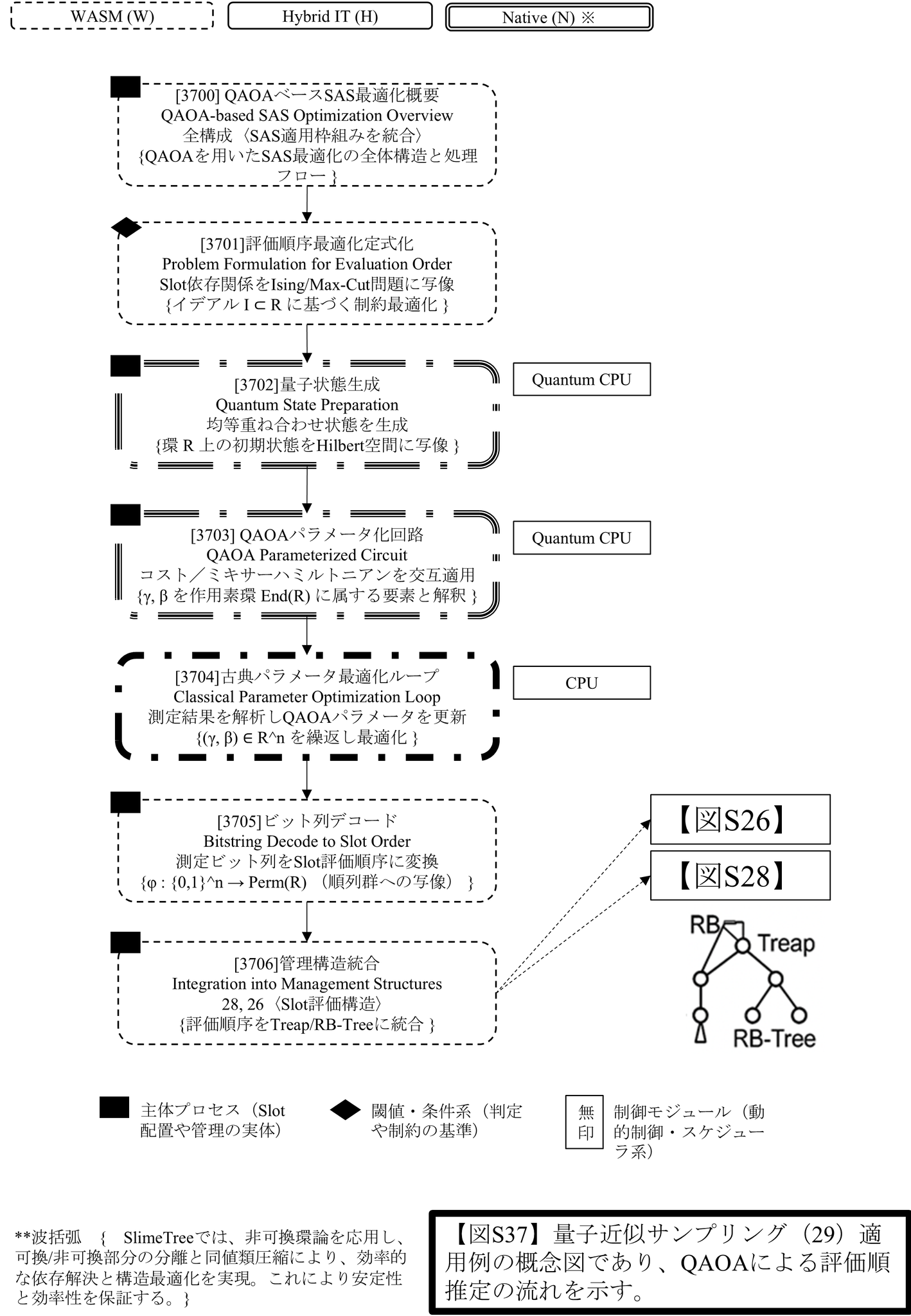
推論の殆どは確率不要か計算量を大きく抑制可能。

 

Slime 21 特許群

  

1) SlimeTree 柔構造的意味記録体
2025 /10/30 PAT.P 2025-183827

 

2) SlimeFLYLM ハエは偉大
2026/01/99 PAT.P

 

3) SlimeNENC 1/20万

2026/01/99 PAT.P

 

4) SlimeDNA 機能獲得は断罪
2026/03/99 PAT.P

 

5) SlimeCEVC 目 耳 口 鼻

2026/01/99 PAT.P

 

6) SlimeARAC

2026/01/99 PAT.P

 

7) SlimeQCNA-M 平行線は交わらない
2026/01/99 PAT.P

8) SlimeQCNA-R 先に直せ
2026/01/99 PAT.P

 

9) SlimeQCNA-C 傍受不可
2026/01/99 PAT.P

10) SlimeQSC 細胞は全て入れ替わる

2026/01/99 PAT.P

 

11) SlimeDSP センサー革命

2026/01/99 PAT.P

 

12) SlimeCodec 直交実装

2026/01/99 PAT.P

 

13) SlimeChip 100倍速
2026/01/99 PAT.P

 

14) SlimeBakabo 天才バカボン

2026/01/99 PAT.P

 

15) SlimeNou

2026/01/99 PAT.P

 

16) SlimeSleep ねんね
2026/01/99 PAT.P

 

17) SlimeDream

2026/01/99 PAT.P

 

18) SlimeDanger 危機

2026/01/99 PAT.P

 

19) SlimeDiag 診断

2026/01/99 PAT.P

 

20) SlimeSwarm 群知

2026/01/99 PAT.P

 

21) SlimeEthics 倫理

2026/01/99 PAT.P

 

 

 

 

論文 15 投稿先 Zenodo.org

 

1) 決定論的可換正規化はz-diff→0を実現する:SlimeLearningとVAEベースの分離の比較分析

 

2) 技術補足:構造境界における数学モデル ― ABC予想と中性子ドリップライン

 

3) 8を超えて:ABC予想と中性子ドリップライン ― 存在の境界における構造的アナロジー

 

4) 算術的ベリー位相:均一性障壁と示唆的ホロノミー解釈によるabc予想の概念図

 

5) トレース理論:非可逆通信によるabc予想への概念的アプローチ

 

6) Slime2Slimer: 哲学、論理、数学から可換性優先のコンピューティングパラダイムへ

 

7) SlimeCompiler: コンパイラの最適化と品質保証のための可換環解析

 

8) SlimeLearning: 桁違いのコスト削減を実現する可換学習フレームワーク

 

9) SlimeTree (v4.4): 推論グラフにおける近似可換崩壊のための構造フレームワーク

 

10) SlimeTree: 可換性を考慮したデータ処理のための柔軟なセマンティック記録構造

 

11) SlimeLearning: SlimeTreeアーキテクチャによる大規模言語モデルの可換学習フレームワーク

 

12) スライム構造理論:計算崩壊の原理としての可換性 SlimeTree、SlimeLLM、可換正規化の統合

 

13) 粒子ベースの属性タグ付けによる自然言語の可換正規化:日本語構文からLLM効率まで

 

14) SlimeLLM: 大規模言語モデルの事後最適化のための属性分離推論フレームワーク

 

15) 適応型非可換螺旋ファイバー構造と位相正規化測度空間

クリエイター

 


 

 

 

 

世界は、今、意味を忘却する!

SlimeTree(スライムツリー):柔構造的意味記録体

【代数・物理・哲学を統合した、人類史上最も柔軟なAI基盤】

 

数学的独占技術:非可換環論による依存解決!

これは、世界中の特許文献、学術文献でも確認されていない、SlimeTree独自の技術です。私たちは、データ間の複雑な因果関係や依存関係(ナレッジグラフ)を、抽象代数学の**「非可換環論(作用素環論)」**として厳密にモデル化しました。

これにより、従来のグラフアルゴリズムが抱えていた無限の再帰計算や循環依存の問題を、代数的に一括圧縮することが可能になりました。結果、スループットは最大7.0倍を達成し、100万ノード規模の依存解決をわずか2時間で完了させます。これは、*** 計算機の概念そのものを書き換える発明です。***

 

The World Is About To Forget What It Thought It Knew!

SlimeTree: The Soft-Structured Semantic Recording Medium

[The Most Flexible AI Foundation in Human History, Unifying Algebra, Physics, and Philosophy]

 

Mathematical Monopoly: Dependency Resolution via Non-Commutative Ring Theory!

This is a proprietary technology of SlimeTree, unconfirmed in global patent or academic literature. We have rigorously modeled the complex causal and dependency relationships (Knowledge Graphs) between data as a framework derived from Non-Commutative Ring Theory (Operator Algebra).

 

This allows us to algebraically compress the infinite recursion and circular dependency problems plaguing conventional graph algorithms. The result: up to 7.0x throughput increase, completing 1-million-node dependency resolution in just two hours. This invention redefines the very concept of computation. ***

 

Download
Slime Series: The Invention of the Perfect Number 6
Inter_bee_A4_sono1_web.pdf
Adobe Acrobat Document 935.9 KB
Download
Genetec SlimeTree and ShiftCast48 Interoperability
Inter_bee_A4_sono2_web.pdf
Adobe Acrobat Document 5.6 MB
Download
Introducing SlimeTree
fixV1.0.0_SlimeTree.pdf
Adobe Acrobat Document 448.0 KB